丝瓜APP污下载,丝瓜视频黄片地址,丝瓜污污视频官网,丝瓜成人版在线观看

    咨询热线
    0373-268 2333
    厂家微信
    当前位置:首页 > 公司产品 > 气流筛分机

    气流筛分机

    气流筛分机

    产品简介:气流筛分机,是一种对微细粉进行有网筛分的高精度筛分丝瓜污污视频官网,气流筛分机广泛应用于化工、医药、食品、造纸、冶金、建材、橡胶、机械等行业。可对细度范围在80-500目内的粉状...

    处理能力:1-15吨/小时

    材质:碳钢或不锈钢

    功率: 3-15KW

    咨询报价销售热线:0373-268 2333

    气流筛分机概述

    气流筛分机,是一种对微细粉进行有网筛分的高精度筛分丝瓜污污视频官网,广泛应用于化工、医药、食品、造纸、冶金、建材、橡胶、机械等行业。可对细度范围在80-500目内的粉状物料很好的连续筛分,筛网可任意更换。气流筛分机(气流筛)筛分效率高、产量大,细度小、无超径混级现象,筛网立装不荷重、使用寿命长,适应细度范围广,全封闭结构,无粉尘溢散,噪音小能耗低、可连续作业,维修方便。

    气流筛分机特点

    气流筛分机具有高效粒度分级、处理量大、能耗低、结构简单、易清洗维护等特点。适用于粉体物料的粒度分级和筛分,提高生产效率和产品质量。

    气流筛负压半循环,筛分程序在负压版循环状态下进行,无粉尘污染。

    采用风力筛分,气流筛采用风力筛分细度无超级混级现象。

    1、 筛分效率高:可达到95%以上;

    2、台时产量是丝瓜视频黄片地址>的5-10倍或更高;

    3、适应细度范围广:80-530目的粉状物料均可高效筛分;

    4、产品筛分精度高,无超级混级现象;

    5、 筛网垂直安装,不负重,使用寿命长;

    6、 筛分程序在负压半循环状态下进行,无粉尘污染;

    7、可与各种磨机,风路并网配套使用;

    8、噪音小、耗电低、连续作业、减少维修。

    气流筛分机工作原理

    气流筛分机工作原理图

    主机气流筛摈弃了传统的重力势能作业原理,开辟了载流体动能做功的筛理新途径,它是在密闭状态下利用高速气流作载体,使充分扩散的粉料微粒以足够大的动能向筛网喷射,达到快速分级之目的。

    微细粉物料经进料斗流入进料口,立即扩散并与空气混合成雾状,经旋转风轮的作用,呈旋风状喷射过网,过网后的细粉经振动输送进入或直接落入负压循环风道,在引风机的作用下,气体与细粉全部进入沉降室,成品细粉沉降后由下部的排料绞龙排出,带有少量料粉尘的气体大部进入除尘布袋,经净化后排出袋外,还有一小部分,由回风管进入筛体下的环形循环风道,再经引风机进入沉降室进行二次分离。

    颗粒直径大于网孔的物料不能过网,落入筛盘内由排渣口排出机外。对于含有大颗粒的物料,应选用丝瓜视频黄片地址或旋振筛安装40-60目的筛网进行预处理,将粗大颗粒或异物排除掉,以免主机内的细网被刺穿或打坏。

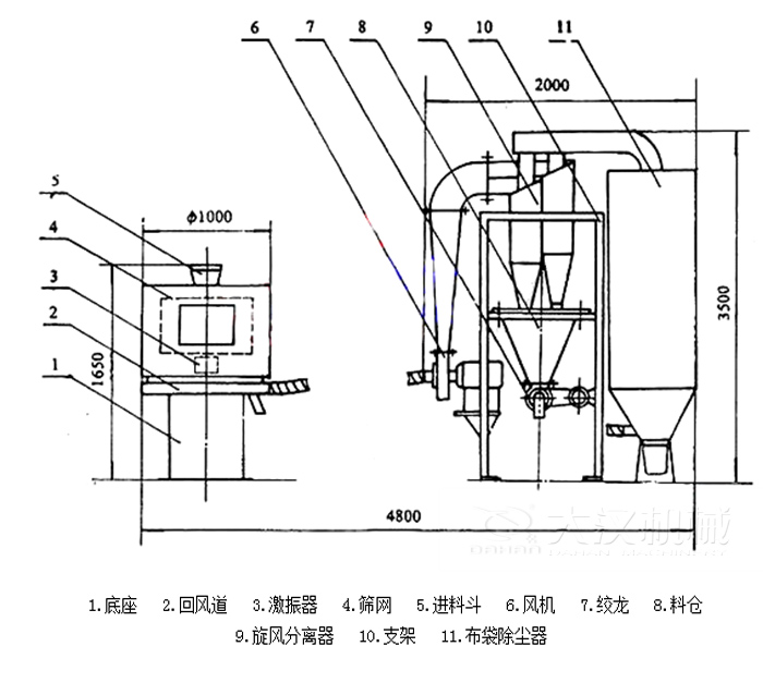
    气流筛分机结构图

     气流筛分机包括:底座,回风道,激振器,进料斗,风机等结构。

    气流筛分机细节

    气流筛分机进料口,回风道,筛网,排渣口。

    气流筛分机通过风力将粉体物料投入分级室,利用筛网进行粒度分级,细颗粒通过筛网,粗颗粒被阻留,最终分离出不同粒度的物料。其结构简单,易于清洗和维护,处理量大,能耗低,适用于食品加工、化工、制药等领域的粉体物料分级和筛分工作,提高生产效率和产品质量。

    气流筛分机宜筛物料

    气流筛适合80-530目有网各种粉状物料筛选分级。

    该机适合80-530目有网各种粉状物料筛选分级,其筛分效率高、产量大、自动进料排料、连续作业、无污染,使以往用各种丝瓜视频黄片地址难以进行高细度精密筛分作业成为易事。经过对120-180目轻钙、300目重钙、400目活性钙、300目山楂粉、320-500目锌粉、500目氧化铁黑、氧化铁红、120-160目中药粉、180-270目石英粉等物料的筛分使用,测得每平方米筛网面积每小时产量均在一吨左右,同时测得筛分效率在95%以上,空气含尘量低于10mg/m3。

    石墨粉、树脂粉、中药粉、涂料、粉煤灰、滑石粉、工业药品、化妆品、灭火剂、塑料粉、陶土、研磨料、铝粉、玻璃粉、耐火材料、淀粉、奶粉、冶金粉末、电磁材料、铜粉、炭黑、活性炭、轻质碳酸钙、铁矿砂等。

    气流筛分机主要适用物料有中药粉,铜粉,冶金粉末等。

    气流筛分机技术参数

    型号 LQS-600 LQS-1000 LQS-1600
    气流量 240-1100 300-2500 460-4900
    筛网规格 80-600目任意更换
    入料颗粒 40目以细
    筛机功率 3 5.5 15
    主轴转速 450-145
    筛机外径 φ600 φ1000 φ1600
    全高 1150 1730 2300

    气流筛分机试机展示

    气流筛分机试机展示 气流筛分机石灰粉筛分现场图片展示

    气流筛分机售后

    筛网安装要正确,本机筛网成圆筒状安装,筛网的上、下端分别由钢丝绳固定。筛网接头处用810粘合剂搭接粘合,搭接宽度约30-50mm。固定两端钢丝绳时,边紧固边调正筛网,使筛网不扭曲、不打邹、均匀张紧。有网试筛时,先将进料量调小,逐渐加大进料量。

    气流筛粉机组操作启动顺序:引风机→气流筛→排料绞龙。

    停机顺序为:气流筛→引风机→排料绞龙。

    布袋除尘器的收尘布袋应及时抖动,一般每小时拍打或抖动一次。

    气流筛分机维护

    操作人员要按产品说明书的要求,正确使用丝瓜污污视频官网,作好丝瓜污污视频官网的清洁、润滑、紧固和防腐蚀等日常维护工作,使丝瓜污污视频官网经常保持内外清洁、性能良好、安全可靠的状态。

    电器控制箱要保持清洁,严防粉尘落入控制箱,造成电器原件失灵或短路。

    主机、电机和风机每年要检修一次,加入少量润滑油,清除电机内粉尘。

    激振器每年必须维修一至二次,每次维修要加润滑油,连接螺栓要紧固。

    筛网更换要遵照操作部分一条的要求,保证均匀张紧,固定两端钢丝绳时边紧固边调整筛网。

    旋振筛,直线丝瓜视频黄片地址,摇摆筛,超声波丝瓜视频黄片地址,试验筛

    Copyright © 2008-2024 丝瓜视频黄片地址厂家 - 新乡市丝瓜APP污下载振动机械有限公司 版权所有 免责声明

    地址:延津县森林公园大门西1000米路北 备案号:豫ICP备95528604号-20

    网站地图